产品快速通道

当前栏目名
您当前的位置:boyu·博鱼最新买球网 > 产品中心 > 减速机展厅硬齿面减速机JRTF系列

- 产品参数:
- 产品型号: JRTF
- 额定功率:0.12~250KW
- 电压:null
- 转速/极数:null
- 减速比:1/3.77-1/22323
- 安装方式:null
详细参数
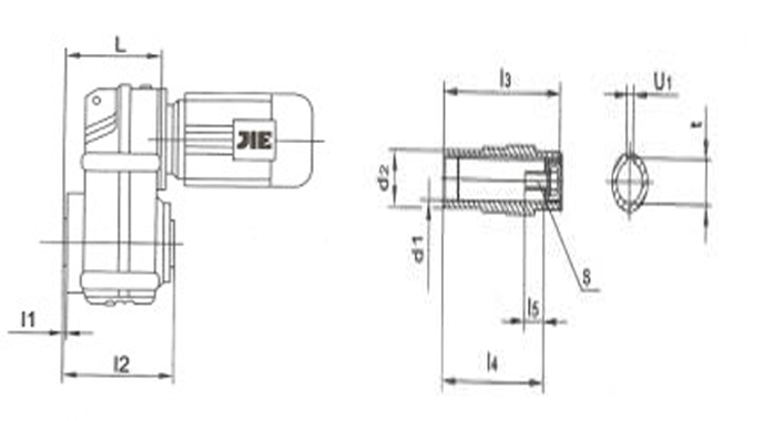
硬齿面减速机JRTF系列为平行轴斜齿轮减速电机,安装方式为底脚安装,安装方式可以为法兰安装,及B5法兰花键空心轴安装。此款为空心轴。硬齿面减速机有时也叫硬齿面减速器或硬齿面减速箱。
硬齿面减速机JRTF系列特点:
体积小、重量轻、传递扭矩大、起动平稳、低损耗、安装方式多样,输入输出灵活等特点。非常适合在空间受限制的情况下使用。并能与各种减、变速机组合,适用于各种不同条件要求的场所。
硬齿面减速机JRTF系列使用说明:
1.1安装注意事项
11.1 减速机须安装在平整坚固的底座上,底脚螺栓必须紧固、防震。
1.2使用注意事项
硬齿面减速机JRTF系列详细尺寸图: