boyu·博鱼最新买球网

boyu·博鱼最新买球网

招商加盟
服务
留言
联系方式

boyu·博鱼最新买球网

您当前的位置:boyu·博鱼最新买球网 > boyu·博鱼最新买球网 > boyu·博鱼最新买球网

斜齿轮减速机叠片式铁心制造

斜齿轮减速机叠片式铁心制造,一般包括冲片的叠压固紧、铁心在机壳或轴上固定,以及铁心表面处理等。对整体铁心不存在片间固紧问题,因为它是由机械加工或粉末压制等方法形成的。斜齿轮减速机

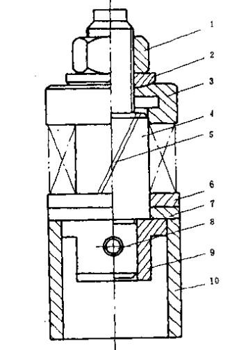
以下面主要介绍叠片式铁心主要工艺方法和整体式铁心的工艺特点。盛片式铁心制造工艺:叠片式铁心的工艺过程一般包括:理片、称重或定片数、定位登压固紧、固定、表面处理等。把涂胶的定子冲片以心轴4和槽键5定位叠压。键数可为1根,也可与槽数相等.球面垫圈可保证压圈3受力均匀,方向垂直.加压后烘烤一定时间,打开螺毋压出心轴即得胶粘的定子铁心。亚压工具.对冲片精度和冲裁一致性有一定要求。对叠压工具的一般要求是:定位准确、合理、可靠、装拆方便。有的还要求压紧力和尺寸可调节。定子铁心的固紧方法定子铁心盛压后,固紧方法有以下几种。

(1)选用适当配合固紧。也可采用较松的过渡配合、而在铁心端部外另设压环,使压环与机壳过盈配合,压紧并固定铁心。对小功率电机也可采用较松的过渡配合,而在铁心外表面涂一层粘接剂固定。因为一般铁心外圆不加工.故这种固紧方式要求冲片精度较高,叠压一致性要好。

(2)铆接固紧.在铁心的合适位置。设盟专用通孔,用穿透铆钉铆接固紧。也可在铁心外缘专门设置的扣片槽内用扣片铆接。穿透铆钉也可用铸铝代替。

(3)焊接固紧.常用的焊接方法有二氧化碳气体保护焊、亚弧焊、等离子焊、真空电子束焊和接触(压力)焊等。

斜齿轮减速机叠片式铁心主要工艺方法和整体式铁心的工艺特点这是和叠片的设计有关系,叠片的大小、选择的材料、磨合度作用等等,根据他的设计总结以上的固定方法,基本的步骤就是上面,希望对大家有帮助。

 

上一篇 斜齿轮减速机铁心结构磁能和机械性型式    下一篇 硬齿面齿轮减速机铁心冲片用冷冲压方法